云上资讯 · 生活
1分钟学会“微信小程序微乐陕西麻将万能开挂器”其实确实有挂
微信小程序微乐陕西麻将万能开挂器是一款...
2025-01-24
1分钟学会“乐乐上海麻将有挂吗!详细开挂教程已更新-知乎
1905电影网讯 当地时间2023年12月4日,英...
2025-01-24
最新教你“中至江西麻将可以开挂吗(详细真的有挂)-知乎
【无需打开直接搜索微信;操作使用教程:中...
2025-01-24
1分钟学会“微友陕西麻将可以开挂吗”其实确实有挂
【无需打开直接搜索微信;操作使用教程:微...
2025-01-24
问气象学家:晚上的雷声真的会更响吗?
事实上,雷声在夜间会被放大。 ...
2025-01-24
最新教你“微信小程序蜀山麻将必赢神器!详细开挂教程已更新-知乎
您好:微信小程序蜀山麻将必赢神器这款游...
2025-01-24
我来教大家“雀神麻将可以开挂吗?”其实确实有挂
无需打开直接搜索微信:本司针对手游进行...
2025-01-24
波音公司将发布737 Max 9门塞的修订检查指南,因为停飞仍在继续
波音公司正在修订向航空公司发布...
2025-01-24
1分钟学会“微信牛牛透视挂!详细开挂教程已更新-知乎
无需打开直接搜索微信:本司针对手游进行...
2025-01-24
最新教你“友空互娱可以开挂吗”其实确实有挂
友空互娱可以开挂吗是一款可以让一直输的...
2025-01-24
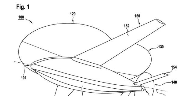
专利申请显示了空客对混合动力串联旋翼飞机的兴趣
空中客车直升机公司正在研究一种...
2025-01-24
1分钟学会“潮娱乐鱼虾蟹有挂吗?”其实确实有挂
潮娱乐鱼虾蟹有挂吗?是一款非常流行的棋...
2025-01-24
最新教你“微乐广西麻将小程序怎么开挂!详细开挂教程已更新-知乎
【无需打开直接搜索微信;操作使用教程:微...
2025-01-24
我来教大家“乐翻娱乐可以开挂吗(详细真的有挂)-知乎
【无需打开直接搜索微信】;操作使用教程:...
2025-01-24
简单学会“星火桌游怎么开挂!详细开挂教程已更新-知乎
您好!欢迎拜访本公司网站,咱们公司是专业...
2025-01-24
我来教大家“牛魔王牛牛挂免费下载(详细真的有挂)-知乎
时尚到底是什么?是街头那抹风景线?还是...
2025-01-24
李·索尔兹伯里:尽管受到性骚扰指控,《性害虫》的电视导演仍然在不同的节目之间自由穿梭
据透露,一名被英国电影学院奖提...
2025-01-24
1分钟学会“真人天天麻将开挂神器下载安装(详细真的有挂)-知乎_商业_喜临门
【无需打开直接搜索微信】;操作使用教程:...
2025-01-24
特朗普逃脱了暗杀
美国: 美国前总统唐纳德?特朗普(D...
2025-01-24
我来教大家“微乐卡五星开挂神器(详细真的有挂)-知乎
无需打开直接搜索微信:本司针对手游进行...
2025-01-24
1030
/1198
下一页
上一页
首页
尾页